Downland pdf file. Puma belt type air compressor operation instruction.
2 Hp Spl Compressor Duty Electric Motor 3450 Rpm 56 Frame 5 8 Shaft 120 240 V
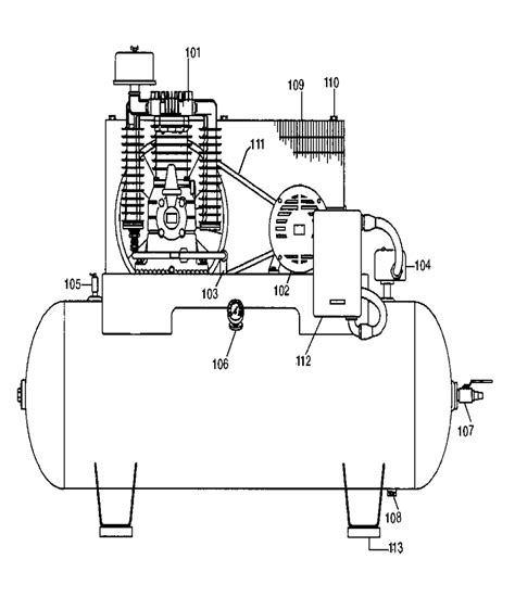
Puma air compressor wiring diagram. 13radiator oil cooler side. 4flexible couplings for direct driven compressors. We use high quality and certified parts to assemble our air compressors. Buy puma tue7580vm direct. The wiring procedure may or may not call for a neutral wire. Check the puma 75 hp 80 gallon belt drive two stage air compressor 230v 1 phase ratings before checking out.
I have contacted puma in the us about getting some pd1006 air compressors in 24 volt made up. 4belt driven system air end pulley electric motor pulley and v belts 12. The wiring diagram on or in the motor terminal box. 2020 1992 airways blvd memphis tn 38114 tel. It can drive an impact gun no problem. Puma air compressors air tools and accessories available in the usa.
As you may know the 12 volt pd1006 produces 30 cfm at 40 psi and 34 cfm at 90psi has a 1 hp motor and 15 us gallon tank. Airoil radiator air cooler side. Before you wire a 230v air compressor you should always check the manual for the proper wire gauge. Wiring must be down in a manner that full voltage nameplate 10 is available at the motor. All 230v appliances must be connected to a dedicated circuit powered by a double pole circuit breaker with the proper amperage rating. 3screw air end made in germany 11.
Oil less direct drive series. 2020 1992 airways blvd memphis tn 38114 tel. Puma oil less durect drive air compressor operation instruction. Each puma air compressor outfit is carefully factory tested and inspected before shipment. We produce and wholesale air compressors accessories air tools and air compressor. Users manual puma compressors is professional compressor producer in turkiye.
Downland pdf file. It beats all the other arb.














